Інкубатор Квочка МІ - 30 - 1 Черкаси цифрове табло

1 845 ₴
- В наявності
- +380 (95) 015-03-85Віталій
Міні-інкубатор "Квочка МІ-30-1
Інкубатор побутовий Квочка призначений для інкубації яєць усіх видів домашньої птиці в особистих господарствах. Якість черкаських інкубаторів завжди було на висоті, але цей бренд не стоїть на місці і вдосконалює свої продукти, випускаючи нові моделі своїх інкубаторів, Квочка враховує всі побажання своїх користувачів, тим самим робить їх зручними і практичними саме для вас.
Інкубатори серії МІ-30 коштують своїх грошей.
Важлива деталь як Місткість
| Перепелиних | 200 |
| Курячих | 80 |
| Качиних і індичих | 50 |
| Гусячих | 40 |

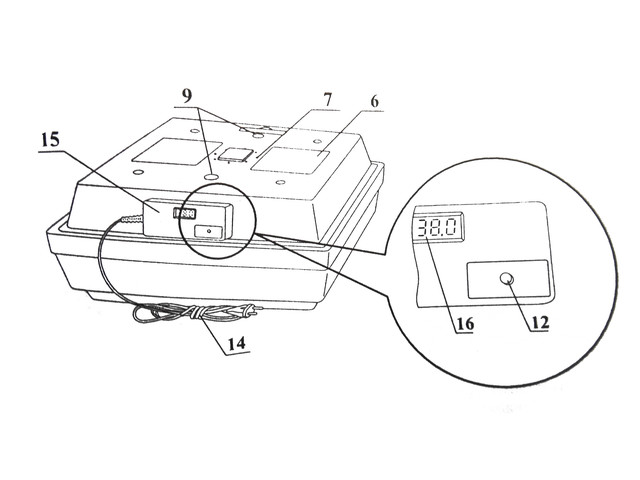
Інкубатор Квочка МІ-30-1 оснащений цифровим
терморегулятором(15), який складається з
дисплея температури(16), кнопки установки
температури(12) і виходить з нього шнур
живлення(14). На кришці(2) Інкубатора Мі-30-1
є оглядові вікна та вентиляційні
отвори(7), які закриті двома заглушками (9).
На внутрішній стороні кришки(2) знаходиться
ламповий нагрівач(10) і термодатчик (11).
Оглядові вікна (6) закриті прозорими
кришками (8).
На виступах корпусу (1) встановлені піддон
(13), сітка (5) і кришка (2).

Інкубатор Квочка складається з двох функціональних
частин : корпусу(1) і кришки (2), виготовлені з
спеціального теплоизоляционнго матеріалу.
На дні корпуса (1) є дві,
непоєднані між собою канавки(3) і сім
вентиляційних отвори (4).
Задану температуру в інкубаторі МІ-30-1 підтримує електричний ламповий нагрівач (10). Включення і вимикання
нагрівача проводиться автоматично терморегулятором(15).
Зволоження повітря в Інкубаторі Квочка забезпечується за рахунок вільного випаровування води з двох канавок (3) і піддону (13)
Повітрообмін в міні-інкубаторі забезпечується через сім вентияляционных отворів в корпусі (1), піддоні (13) і вісім
отворів у центрі кришки (2). Для більш інтенсивної вентиляції інкубатора служать два отвори в кришці (2), закриті
знімними заглушками (9), червоного кольору .
| Основні атрибути | |
|---|---|
| Виробник | Квочка |
| Країна виробник | Україна |
| Тип | Інкубатор побутовий |
| Споживана потужність | 30 Вт |
| Матеріал корпусу | Пінопласт |
| Тип терморегулятора | Електронний |
| Тип живлення | Мережа 220 В |
| Нагрівальний елемент | Ламповий |
| Стан | Новий |
| Переворот яєць | Ручний |
| Підтримка температурного режиму | Автоматичне |
| Підтримання вологості | Вільне випаровування |
| Повітрообмін | Природний |
| Габаритні розміри | |
| Ширина | 470 мм |
| Довжина | 470 мм |
| Висота | 230 мм |
| Вага | 2 кг |
- Ціна: 1 845 ₴





